Digital PDFs
Documents
Guest
Register
Log In
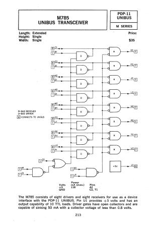
M785-ds
Order Number: XX-6E6AB-25
/ Hardware / Components / Flip Chip Modules / Mxxx
XX-6E6AB-25
2000
1 pages
Quality
Original
0.2MB
view
download
Home
Privacy and Data
Site structure and layout ©2025 Majenko Technologies