Digital PDFs
Documents
Guest
Register
Log In
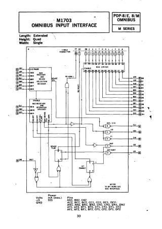
M1703-ds
Order Number: XX-EF71D-FA
/ Hardware / Components / Flip Chip Modules / Mxxx
XX-EF71D-FA
2000
3 pages
Quality
Original
0.4MB
view
download
Home
Privacy and Data
Site structure and layout ©2025 Majenko Technologies